头部餐企“求生成功”。
2023年8月29日晚间,海底捞、奈雪的茶、达美乐中国纷纷发布了上半年业绩公告,至此,头部上市餐企基本完成了半年报业绩披露。

■ 制图:餐饮新连锁
据国家统计局数据,今年1-7月全国餐饮收入28606亿元,增长20.5%,成为反弹最大的消费品类;1-6月期间,国内餐饮企业暴增200多万家。
在此大环境之下,各上市餐企的表现又如何呢?让餐饮新连锁带大家细看。

整体来看,上市餐企趁着消费复苏的当口纷纷扭亏为盈,无论是坐拥肯德基必胜客的百胜中国、还是细分品类代表的海底捞九毛九、饮品赛道的奈雪瑞幸,都交出了亮眼的成绩单。
包括海底捞、呷哺集团、九毛九、达美乐中国、百胜中国、绝味食品、周黑鸭、紫燕食品、奈雪的茶、瑞幸咖啡、海伦司在内的11家细分头部餐企,在报告期内全部达成正向盈利,其中海底捞、瑞幸完成巨幅增长。
1
中式正餐强势复苏
海底捞净利润同比增幅30倍
1、海底捞净利润22.6亿元
8月30日,海底捞发布了2023年中期业绩报告,报告期内海底捞多项经营数据同比大幅提升,取得营业收入188.9亿元人民币,较去年同期持续经营业务收入增长24.6%;净利润22.6亿元,创上半年业绩新高,接近2019年全年净利润。

■ 源自:海底捞2023年中期业绩报告
根据财报,截至今年6月30日,海底捞在大中华区共经营1382家海底捞餐厅,“硬骨头”计划下部分先前关停门店重开后,餐厅数目同比增加。
此外,海底捞餐厅截至2023年6月30日止,六个月的平均翻台率为3.3次/天;顾客人均消费从去年同期的105.0元减少至102.9元。
外卖业务从去年同期的448.2万元增至471.4万元,同比增加5.2%,主要是由于提供外卖配送服务的门店数量增加。
成本方面,海底捞员工成本从去年同期的53.11亿元增加至57.69亿元,同比增加8.6%,但由于翻台率提高带来的人效提升,员工成本占比从去年同期的35%降至30.5%。
财报提到,海底捞未来的工作重心仍将继续放在:提升顾客满意度、打造更强的产品力、针对私域用户展开数字化精准推送、品牌营销提高消费者对品牌感知的频次等。
2、连亏三年后,呷哺终盈利
8月27日晚,呷哺集团发布2023年中期业绩报告,报告显示,报告期内呷哺集团营业收入同比增长36.8%至14亿元;利润端扭亏为盈,从2022年中期净亏损2.78亿元转为盈利200万元。

■ 源自:呷哺集团2023年中期业绩报告
具体来看,呷哺集团旗下品牌呷哺呷哺营收1.41亿,约占集团营收的49.9%,凑凑营收1.34亿,约占47%。其它收入则占比约3.1%。
财报显示,呷哺集团营收增长主要是门店客流恢复带动了翻台率回升,以及集团旗下的呷哺呷哺、湊湊火锅的门店加速扩张所致。报告期内,呷哺呷哺与湊湊火锅的翻座率和翻台率分别为2.4和2.1,去年同期上述两个品牌的翻台率分别为2.1和1.9。
门店方面,截至6月30日,呷哺集团全球在营门店数为1094家其中呷哺呷哺841家、凑凑火锅237家,趁烧2家。今年上半年新开门店120家,其中呷哺呷哺新增91家、湊湊火锅新增28家、趁烧新开1家。
报告提到,呷哺集团未来将继续实施以下策略:继续深耕会员体系、将业务拓展至华东华南地区、积极拓展海外市场、做好成本管控拓展业务渠道和加工产品范围。
3、九毛九净利润翻三番,太二怂火锅立大功
8月22日晚,九毛九集团发布2023年中期业绩报告,报告期内九毛九集团营业收入同比增长51.63%至28.79亿元;归母净利润同比增长至285.12%至2.22亿元。

■ 源自:九毛九集团2023年中期业绩报告
截至2023年6月30日,九毛九共计门店数621家,其中包括496家太二、75家九毛九西北菜、43家怂火锅、1家那未大叔是大厨、6家赖美丽烤鱼。
从营收来看,496家太二为九毛九集团贡献了百分之76%的收入,75家九毛九西北菜贡献了11%的收入,43家怂火锅则反超九毛九西北菜贡献了12%的收入。九毛九董事长管毅宏曾将太二酸菜鱼和怂火锅称为九毛九的第二第三增长曲线。
2018年,太二的翻座率达到4.9,2019年至2021年的翻座率则分别为4.8、3.8、3.4,持续下滑;到了2022年,太二翻座率已降至2.6。通过调整经营策略,2023年太二的翻座率回升至3.1。
怂火锅于2020年8月成立,历经3年的发展,营收从748.2万增至3.52亿,增长了4.7倍。另据财报数据显示,2023年上半年怂火锅的收入增加了331.2%至3.52亿元,相比去年同期,占集团收入的比例提升8个百分点。
怂火锅也正式超越九毛九西北菜,成为集团第二大收入来源。
此外,2022年6月至2023年6月间,怂火锅新开门店32家,翻台率从上一年同期的3.4提升至3.9,同店销售额同比增长6.7%。
2
西式快餐全速奔跑
首个万店洋快餐即将诞生
1、百胜中国总收入同比增长16%,肯德基将破万店
8月9日,百胜中国发布中期业绩公告。报告期内百胜中国总收入为55.7亿美元,同比增加16%;经营利润为6.73亿美元,同比增加147%;净利润为4.86亿美元,同比增加166%。

■ 源自:百胜中国2023年中期业绩报告
截至2023年6月30日,百胜中国共有门店13602家;其中肯德基9562家门店,必胜客3072家门店,塔可钟、Lavazza、小肥羊、黄记煌等品牌共有门店968家。

■ 源自:百胜中国2023年中期业绩报告
今年上半年,百胜中国净增加门店655家,其中包括468家肯德基门店和169家必胜客门店。截至6月30日,肯德基品牌总门店数已达9562家,下半年或有望直接突破10000家店,成为洋快餐赛道首个万店品牌。
2、达美乐中国新增市场单店日均销售额近5万元
8月29日,达美乐发布了继3月28日港股上市后的第一份业绩公告,报告期内达美乐中国总收入较2022年同期增长51.5%至13.76亿元,股东应占溢利875.1万元,扭亏为盈。

■ 源自:达美乐中国2023年中期业绩报告
截至2023年6月30日,达美乐中国共拥有门店672家,其中北京上海两地门店331家,其余市场门店341家,在新增市场中,包括武汉、济南、成都、青岛、温州及常州在内的新增城市表现尤为出色。
财报提到,上述六个城市的门店平均日销售额46660元,且在这六个城市共24家门店中,有六家门店在达美乐全球系统中保持着全球前30天销售额前6名的纪录。
此外,在达美乐中国深耕的成熟市场北京和上海,达美乐的王牌业务外卖订单为其贡献了超75%的收益。
3
卤味“真香”
绝味净利润增长近150%、周黑鸭翻4倍
8月28日晚,绝味食品发布2023年半年报。报告期内绝味食品实现营业收入37亿元,同比增长10.91%;归属于母公司股东的净利润为2.42亿元,同比增长144.55%。

■ 源自:绝味食品2023年中期业绩报告
截至报告期末,绝味鸭脖中国大陆地区门店总数16162家,上半年净增长1086家,在卤味鸭货赛道保持绝对头部的优势。
8月16日晚间,周黑鸭发布了2023年上半年业绩公告,报告期内实现营业收入14.1亿元,同比增长19.8%;净利润达1.02 亿元,同比增长453.6%。

■ 源自:周黑鸭2023年中期业绩报告
截至2023年6月30日,周黑鸭门店总数达3706间,其中自营门店1542间,特许经营门店2164间。上半年,周黑鸭交通枢纽门店净增46家,商圈商业体及商超门店净增133家。

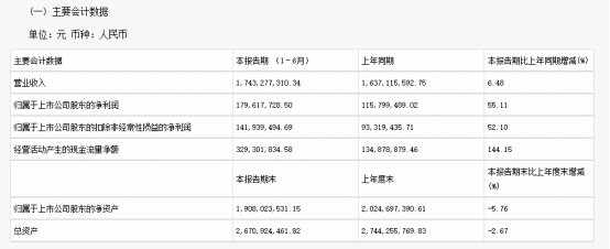
■ 源自:紫燕食品2023年中期业绩报告
此外,8月10日晚间,紫燕食品也发布了自2022年9月上市以来的第一份半年报。报告期内紫燕食品营收17.43亿元,同比增长6.48%;归母净利润1.8亿元,同比增长55.11%;门店数量达到6137家,较去年年末增加442家。
4
现制饮品 :数字化及规模加速扩张
1、奈雪的茶
8月29日,奈雪的茶发布2023年半年报,报告期内奈雪营收25.94亿元,同比增长26.8%,股东应占溢利润0.66亿,同比扭亏为盈,门店经营利润率20.1%,同比提升9.7个百分点。三四线及以下城市门店表现优异,门店经营利润率达到21.7%。

■ 奈雪的茶按品牌划分营收数据
分收入来源看,奈雪的茶茶饮店贡献的23.54亿元营收中,有85%来自线上订单,其中43.9%是外卖订单,41.1%是自提订单,门店点单仅占品牌整体营收的15%。
财报提到,截至2023年6月30日,奈雪的茶注册会员数达到约6640万名,月度活跃会员约430万名,月度复购率约23%。
从门店数量来看,截至2023年6月30日奈雪的茶在93个城市开出共计1194间茶饮店,报告期内净增126家。目前奈雪的茶主要在现有的一线、新一线和重点二线城市进一步扩张茶饮店网络提高市场渗透率。

■ 源自:奈雪的茶2023年中期业绩报告
从成本来看,奈雪的茶各项经营成本占比都在下降,其中人力成本得到了大幅度优化,从2022年的26%下降至19.6%。报告期内奈雪的茶员工成本约6.86亿元,去年同期为7.12亿元。
同时财报还提到,首批奈雪的茶合伙门店预计将于2023年下半年开出,未来合伙门店的表现将单独披露。
2、瑞幸咖啡
8月1日,瑞幸公布了2023年二季度及上半年财务数据,报告期内瑞幸咖啡总收入为106.38亿元,同比增长86.53%。归母净利润为15.64亿元,去年同期亏损9487.2万元。

■ 瑞幸咖啡2023年二季度及上半年财务数据
今年二季度,瑞幸咖啡实现了首个万店目标,成为中国市场第一家门店数量破万的连锁咖啡品牌。
其中,二季度净新开门店1485家,总门店数量环比增长15.9%。截至二季度末,门店总数达10836家,其中自营门店7188家,联营门店3648家。

■ 瑞幸咖啡门店数量
今年5月底,瑞幸咖啡启动了“带店加盟”的模式。瑞幸咖啡董事长兼CEO郭谨一,在8月1日的二季度财报电话会上表示,“(该模式下)目前市场反响强烈,门店拓展效果显著。”
值得注意的是,截至7月2日的2023年第三财季,星巴克在中国市场营收为8.22亿美元(折合人民币59亿元),瑞幸咖啡62亿元的季度营收意味着首次超越星巴克中国区。
3、海伦司
8月25日,海伦司披露了2023年上半年的业绩报告,报告期内海伦司实现营收7.1亿元,同比下降18.73%;公司拥有人应占期内利润1.58亿元,去年同期为亏损3.04亿元,同比扭亏为盈;经调整净利润为1.77亿元。

■ 源自:海伦司2023年中期业绩报告
门店数量来看,报告期内海伦司新开25家酒馆,关闭139家酒馆。截至2023年6月30日,海伦司的酒馆总数为653家,同比去年同期净减少193家门店。
截至8月25日,海伦司共有562家酒馆,门店数仍在持续减少,其中位于中国内地的酒馆有560家,覆盖26个省级行政区及158个城市。
2023年6月,海伦司又再度启动了“嗨啤合伙人”的计划并推出了新的单店模型。在业绩报告中海伦司表示,嗨啤合伙人酒馆的平均单店日均坪效,系2023年上半年新开酒馆的2.6倍。

■ 源自:海伦司2023年中期业绩报告
分产品来看,海伦司自有产品贡献了整体营收的76.3%,其中饮料化酒饮占比由去年同期的37.2%上升至42.4%,主要是新品百香果大扎、老冰棍吨吨桶等饮料化酒饮符合了消费者需求。
结语:财报亮眼,但挑战仍在
各上市餐企披露的数据似乎都很乐观,如果抛开过去三年的低谷,加上上半年报复性消费带来的爆发性增长,是否真的如预期般乐观还需斟酌。
呷哺呷哺、海伦司还在和闭店率作斗争,去年闭店率一度达到10%的紫燕仍未公布闭店数。
海伦司、奈雪的茶、达美乐开放加盟,但海伦司没等来预期的业绩爆发,奈雪的茶加盟店情况还需等待下一个半年的表现,达美乐在新增市场收获了品牌全球门店营收记录,种下同样的种子,收获的果实也不尽相同。
消费降级带来的影响也反映在了财报里,海底捞顾客人均消费从去年同期的105.0元减少至102.9元,百胜中国在5月“灵活调整以满足消费者需求,抓住假期消费机遇并成功重拾销售增势”,呷哺推出了208元畅吃卡。
6月5日,规模破万店的瑞幸宣布9.9元回馈活动至少持续两年……
远远看去,餐饮行业好像已经迎来了春天,但潮水褪去才能看见谁在裸泳,或许还要等到下一个半年或者更远的时候才能见分晓。
不过在普遍悲观的当下,半年报数据向好也为餐饮人打了一剂强心针,,头部餐饮企业的“求生成功”预示着在当下充满挑战的市场环境中,谁先抓住市场需求谁就能成为赢家。