天然呆奶茶再被执行35万;老娘舅北交所IPO进入上市辅导阶段。详情请看餐饮吧《每日餐讯》。
企业动向天然呆奶茶再被执行35万
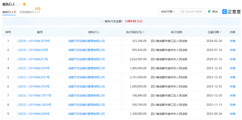
中国网消息,近日,成都天然呆餐饮管理有限公司新增一则被执行人信息,执行标的35万余元,执行法院为成都市锦江区人民法院。股权穿透显示,关晓彤父亲关少曾通过彤梦心缘(成都)文化传媒有限公司持有天然呆公司35%的股份。风险信息显示,天然呆公司现存9条被执行人信息,被执行总金额超1009万元。

△图片来源:企查查截图
老娘舅北交所IPO进入上市辅导阶段
餐饮吧消息,2月26日,浙江证监局受理了老娘舅餐饮股份有限公司(简称“老娘舅”)提交的首次公开发行股票并在北交所上市的辅导备案申请,公司进入辅导阶段,辅导机构为中信证券。老娘舅在公告中表示,公司目前为基础层挂牌公司,须进入创新层后方可申报公开发行股票并在北交所上市,公司存在因未能进入创新层而无法申报的风险。公司目前挂牌尚不满12个月,公司须在挂牌满12个月后,方可申报公开发行股票并在北交所上市。
温氏股份2023年亏损63.29亿
餐饮吧消息,2月27日,温氏股份发布2023年业绩快报,实现营业总收入899.18亿元,同比增长7.4%;实现净利润-63.29亿元,由盈转亏,同比下降219.66%。公司方表示,虽然公司不断加强基础生产管理,生产成绩持续向好,养殖成本持续降低,,但由于生猪销售价格同比大幅度下降,产品价格下降幅度大于养殖成本下降幅度,生猪养殖业务利润出现深度亏损。
九毛九宣布换帅
餐饮吧消息,今日(2月29日),九毛九集团发布人员调动公告。公告显示,为符合联交所上市规则中主席与行政总裁不能有一人同时兼任的要求,即日起,集团执行董事何成效将获委任为公司新的行政总裁。原行政总裁管毅宏则仍将担任公司董事会主席、执行董事及提名委员会主席等职务,本调动将于2024年3月1日起生效。
人造肉第一股Beyond Meat亏损进一步扩大
财联社消息,2月27日,人造肉第一股Beyond Meat公布了最新的季度业绩,还对本财年做出了指引,预计2024年毛利率在15%至19%之间。第四财季,Beyond Meat净营收从上年同期的7990万美元降至7370万美元,超出分析师预测的6670万美元;净亏损1.551亿美元,上年同期净亏损6690万美元。Beyond Meat公指出,去年11月进行的全球运营审查中,公司对超额库存提取准备金和对某些固定资产加速折旧,使得第四季增加6,750万美元的一次性成本,进而使得第四季的亏损额大幅扩大。
水果茶品牌「百分茶」推新品牌“拾柴手作”
首店早知道消息,近日,水果茶品牌百分茶推出了新品牌“拾柴手作”。品牌的全国首店已在苏州观前街围挡。据了解,“拾柴手作”为茶饮手作工坊,选用北纬45°东北黑土地有机糯米,主打手打有机米麻薯以及各式茶饮果汁。
蜜雪冰城申请“雪王优选”“雪王小卖部”等商标
企查查消息,近日,蜜雪冰城股份有限公司申请注册多枚“雪王小卖部”“雪王优选”商标,国际分类包括服装鞋帽、布料床单、医疗器械等,当前商标状态均为等待实质审查。
社会热点广东江门焙炒咖啡产品占全国比重超过20%
羊城网消息,据相关部门统计,2023年江门出口的焙炒咖啡产品占全国的比重已超过20%,是全国重要的咖啡烘焙产品出口基地。目前,江门有食品生产许可证资质的咖啡企业17家,其中2023年新增5家,总规划烘焙年产能达5600吨,其中精品咖啡豆烘焙量占比30%。
广州马场内多家餐饮门店约满撤店
南方都市报消息,近日,广州赛马运营管理有限公司发出收回场地公告,称将收回租约期满的餐饮场,加快推进地段升级改造。截至2月28日,马场内的部分租约到期的餐饮商户已关闭门店,其中包括茂港渔村、潮荣壹号酒家、潮庭私房菜、熊记虾王等多家餐饮门店。
公开消息显示,2021年,中国政府采购网曾发布《天河区马场地块功能提升发展策划项目竞争性磋商公告》,称将对马场地块进行功能提升发展策划项目招标。天河中央商务区管委会有关负责人表示,目前天河区已成立专班,积极推动赛马场地块更新改造工作。
太原一自助餐厅有老鼠乱窜被停业自查
新京报消息,近日 ,网民发视频称太原北美新天地时尚中心内一自助餐厅发现老鼠乱窜。2月27日,市场监管部门责令涉事餐厅山西味爱餐饮管理有限公司北美分公司停业自查,并进行内部消杀完善病媒生物防制设施,加强从业人员管理,要求定期开展自查。同时,市场监管部门约谈商场负责人,督促第三方消杀公司做好病媒生物防制工作。
注:本文由餐饮吧综合自企查查、首店早知道、财联社、羊城网、新京报、中国网、南方都市报等公开信息,如需转载,请标明来源。也希望广大读者在评论区留言,为广大餐饮人提供更多宝贵的建议。
整编|餐饮吧_朱 明