明星林瑞阳在上海新开咖啡店,目前该品牌的商标仍处于驳回复审阶段;2023年我国餐饮食材消费规模同比增长20.45%。详情请看餐饮吧《每日餐讯》。
社会热点林瑞阳新开咖啡店,商标仍处于驳回复审阶段
界面新闻消息,5月19日,明星林瑞阳新开的咖啡店“啡常开心”正式开业,门店选址于上海徐汇区美罗城。据了解,该门店主要销售咖啡、奶茶、酒精饮料与三明治,价格在15至30元间,新店开业促销期间,产品最低价为8.8元。
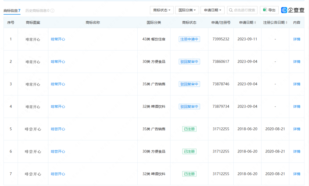
据企查查显示,“啡常开心”主体公司上海庭林企业管理有限公司于2023年9月就进行了“啡常开心”商标申请,分类为餐饮住宿、广告销售、啤酒饮料、方便食品,目前均在驳回复审阶段。

△图片来源:企查查截图
2023年我国餐饮食材消费规模同比增20.45%
央视新闻消息,5月23日,中国物流与采购联合会发布《中国食材供应链发展报告(2024)》。报告显示,2023年我国食材消费规模增速显著,达到2.12万亿元,同比增长20.45%。零售食材消费规模达到7.25万亿元,同比增长7.66%。
“第九届中国烹饪世界大赛”在加拿大温哥华开幕
餐饮吧消息,5月21日,第九届中国烹饪世界大赛在加拿大温哥华正式拉开帷幕。本届大赛以“舌尖百味新世界,五洲餐饮共融和”为主题,由世界中餐业联合会主办、加拿大餐饮总会承办,为期3天,汇聚了来自全球10余个国家和地区的百余位选手参赛。
在厨界精英同场竞技、以赛会友的同时,大赛还举办第十二届国际中餐发展论坛以及产业交流等活动,具有代表性的餐饮产业链相关企业亦在现场展示产品,探讨合作。
头部企业动向周黑鸭焕新推出“锁鲜&散卤二合一门店”模式
餐饮吧消息,周黑鸭官方微信发布消息,品牌今年将全面铺开“锁鲜&散卤二合一门店”战略,,在这一模式下的周黑鸭门店里,消费者既能买到以前的“锁鲜装”即包装食品,也能买到现捞热卤和散装称重产品。目前,该模式已在湖北省内多家门店铺开,周黑鸭方面表示,正积极筹划将该模式推广至更多地区。
食极星联合饿了么启动新茶饮标准评价体系建设
新京报消息,5月23日,美食标准评价体系食极星与饿了么宣布启动新茶饮标准评价体系建设,在饿了么平台上线茶饮健康分级和营养评级项目,消费者线上点餐可以查询多种饮品的产品热量和营养成分,以及原配料追溯。
Shake Shack在中国内地推出首个米其林星厨系
北京商报消息,5月18日,汉堡品牌SHAKE SHACK与米其林指南一星LING LONG餐厅主厨刘禾森,推出米其林星厨系列汉堡及奶昔产品,而这也是Shake Shack在中国内地的首个米其林星厨系列。据介绍,米其林星厨系列汉堡奶昔售价158元,于5月18日(周六)在Shake Shack上海新天地店及5月25日(周六)在Shake Shack北京三里屯太古里店限时限量发售。
Costa Coffee成为巴黎奥运会和残奥会全球咖啡合作伙伴
小食代消息,据了解,Costa Coffee将在今年夏天于法国各地运营品牌快闪店,这是其作为2024年巴黎奥运会和残奥会官方全球咖啡合作伙伴的一部分,也是该品牌第二次赞助奥运会。此次赛事合作,Costa Coffee将在赛事的一些主要场馆开设临时“咖啡舱”,包括奥运村、埃菲尔铁塔、法国网球公开赛场地等。
雀巢针对食用网红减肥药人群推出新品牌“Vital Pursuit”
财联社消息,近日,雀巢宣布将在美国市场上新增一个名为“Vital Pursuit”的品牌,该品牌专为服用Wegovy或Ozempic等减肥药物的人设计冷冻披萨和意大利面等产品。据称,有关产品含有更多的蛋白质、铁和钙,是为服用被称为GLP-1抑制食欲药物的消费者所设计。
注:本文由餐饮吧综合自财联社、北京商报、新京报、小食代、央视新闻等公开信息,如需转载,请标明来源。也希望广大读者在评论区留言,为广大餐饮人提供更多宝贵的建议。
整编|餐饮吧_朱 明