在洛阳涧西区经营33年小吃店的张师傅,无论如何也想不到,年近六旬的他,会因为自家小店里的小吃“潼关肉夹馍”,被一纸诉状告上法庭,通过法院他了解到,在洛阳有近60位小吃店主和他一样的遭遇,原告都来自陕西潼关县——潼关肉夹馍协会。“这家小店一个月的收入,刚好够我和老伴的医药费,是我们的‘救命钱’。”23日,面对原告3万元的追偿,一筹莫展的张师傅向记者求助。
求助
小吃店主接法院传票被诉“潼关肉夹馍”侵权
23日,记者来到位于洛阳市涧西区景华路和长安路交叉口,张师傅的小李米皮店在路口,鲜明的红色招牌上,黄色的三十年老店赫然醒目。招牌下方写着米皮、凉皮等售卖的内容,在土豆粉和肉夹馍中间,有明显的缺字位置。
“收到传票的第二天,我就把潼关两个字给抠下来了。”指着招牌,张师傅无奈地说。
10平米的小店,被分割成烹饪区和就餐区,四张四人位的长桌分列两排,小店被挤得满满当当。
张师傅介绍说,这家不起眼的小店,以他老伴的姓命名,开了33年。“之前开在长安路上,2004年市场改造我们搬到新址,便是现在的位置。”张师傅告诉大河报·豫视频记者,在新址小店也延续了17年之久。
据张师傅描述,今年年初,店门头的招牌粉饰一新,张师傅给“肉夹馍”三个字前添了“潼关”二字,而店内的价目表上,在肉夹馍的门类前并无潼关二字。张师傅介绍说,价目表一直没有变过,一直只有肉夹馍三个字。

张师傅患有脑梗,老伴患有糖尿病,小店虽小,却是老俩唯一的经济来源。“一个月抛去成本,只能挣1、2000元。”张师傅告诉记者,他和老伴一个月医药费1200余元,都指着这家小店,挣得老俩的“救命钱”,没想到却会因为“潼关”二字要面临巨额赔偿。
10月21日,张师傅收到了老城区人民法院的传票,因为小吃店招牌上的潼关肉夹馍二字,潼关肉夹馍协会将其告上法庭,主张张师傅停止侵犯其第14369120号注册商标专用权的行为,并赔偿其3万元经济损失。
当天,张师傅立即抹掉招牌上的“潼关”二字,随后便自己当起“律师”四处搜集证据,做成厚厚的一本申诉材料并于11月16日前往老城区人民法院应诉,“我们实在没钱,请不起律师。”
恰逢疫情该案线上开庭,张师傅也没有见到原告一方。
遭遇
洛阳近60家小吃店主因“潼关肉夹馍”成被告
在准备应诉的过程中,张师傅结识了洛阳多位小吃店店主,他们都陆续接到了潼关肉夹馍协会的诉状,在洛龙区经营米线店的于师傅便是其中之一。
于师傅告诉记者,他于今年10月20日收到老城区人民法院的传票。而在此时,店里的“潼关肉夹馍”字样早就踪迹难觅。
2015年7月,于师傅和妻子开了米线店,特色有“于师傅潼关肉夹馍”。店门楣的招牌上写着于师傅潼关肉夹馍字样,店内的宣传画有网上下载来的关于潼关肉夹馍的宣传,装肉夹馍的袋子是定制的“于师傅潼关肉夹馍”字样。今年7月,店招牌上的潼关二字因店员打扫卫生不小心弄掉落了,一直空着,“今年国庆前夕,社区的人说招牌不全不好看,我们就加了香酥二字上去”,店内的潼关肉夹馍宣传画也随之撤掉,装肉夹馍的纸袋也更改为于师傅香酥肉夹馍。
我们在网上查到,潼关肉夹馍协会是2016年登记的,“我们在他们协会注册之前便使用了这一名称,而且在收到传票时已经不使用了。”于师傅说,莫名被告上法庭,他和妻子都觉得震惊和委屈。
于师傅告诉记者,,“目前在洛阳潼关肉夹馍被告群就有48个人,还有很多人没加入,不完全统计有60多位。”于师傅说,而在沟通的过程中,他们发现在河南、长沙等地,都有店主有相同的遭遇,“我所加入全国范围内被告群有281个人。”
于师傅告诉记者,洛阳的店主大部分集中在11月开庭,“群内一些店主提供信息,有原告律师不断找到他们协商赔偿价格,一开始说5万,后来降到1万八,多个回合下来律师居然说那5000也可以。”
“这不是瞎糊弄呢?”张师傅提出质疑,他在搜索证据的时候发现,潼关肉夹馍协会的注册资金只有5万元,而他们大规模的起诉小微店主,普遍追偿3至5万元,“这已经超出了维护知识产权的范围,这是‘恶意敛财’。”张师傅质疑说。

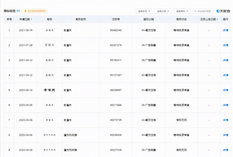
图片说明:据天眼查显示,全国有多家餐饮店铺被潼关肉夹馍协会起诉(网站截图)
回应
潼关肉夹馍协会:接受采访可以,去找我们主管单位
记者留意到,针对张师傅的传票上,潼关肉夹馍协会主张张师傅停止侵犯其第14369120号注册商标专用权,该商标除了上下两个部分,上方为一个logo,因印刷问题难以看清,下面为一个潼关肉夹馍五个字并配有“—TONG GUAN ROU JIA MO—”字符。
记者查询天眼查了解到,潼关头夹馍协会成立登记日期为2016年6月6日,注册资本5万元,登记管理机关为潼关县民政局,业务主管单位为潼关县商业行业管理办公室,宗旨为潼关肉夹馍培训、推广、宣传,住所为潼关县十三花肉夹馍。


记者留意到,在天眼查链接的开庭公告中,涉及内蒙古、河南、浙江、吉林等全国多地共210条开庭公告,潼关肉夹馍协会均为原告,案由为“擅自使用他人有一定影响的企业名称、社会组织名称、姓名纠纷”“商标权权属、侵权纠纷”“侵害商标权纠纷”等。
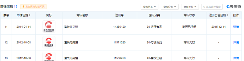
有关潼关肉夹馍协会知识产权的商标信息共有13项,包括“老潼关”“潼关肉夹馍”等无图案仅文字和拼音字符的商标,分类涉及餐饮住宿、广告销售等10个商标,其商标状态或为商标无效、或为等待实质审查。
而与该协会起诉张师傅的第14369120号注册商标非常相似的两个商标,分类涉及方便食品和餐饮住宿两项,商标状态为商标无效。而唯一一个商标状态为注册成功的,注册号为:14369120,分类为方便食品。

那么,潼关肉夹馍协会大规模起诉像张师傅这类小微店主的初衷是什么?作为其业务主管部门,潼关县商业行业管理办公室是否知晓?
记者拨通了潼关肉夹馍协会的注册电话,一位自称一餐饮公司工作人员的男士接电得知要找潼关肉夹馍协会,便给了记者另一个联系方式。
随后,记者联系上潼关肉夹馍协会工作人员王先生,得知记者希望采访,王先生称接受采访没问题,但该协会是一个社会团体,采访需要走正常手续,需要记者找上级主管单位。当记者问及具体需要哪些手续,找哪个单位,王先生:“应该是民政局吧。”尔后王先生又补充道,该协会业务主管单位为“潼关县商业办”。
记者辗转联系到潼关县商业行业管理办公室,工作人员刘先生接听电话并表示,该单位下属确有潼关肉夹馍协会,对于采访他需要请示领导后回复,并留下了记者电话。截至发稿时,记者未接到相关回复。
随后,记者拨打了潼关县政府民政局办公室,工作人员表示其本人听说过该县有潼关肉夹馍协会,并给了记者社会组织管理科的电话,详细需要咨询该科室工作人员,记者多次拨打均未有人接听。
律师
“潼关肉夹馍”商标权的真正归属有争议
前有“逍遥镇胡辣汤”,后有“潼关肉夹馍”,针对张师傅的遭遇,河南广文律师事务所盛梦鹤认为,潼关肉夹馍的知名离不开全国各地小商小贩的努力,因此“潼关肉夹馍”商标权的真正的归属其实也是有争议的。并且,“潼关”是地名,使用地名来标注服务来源,也有观点认为不能算违法。
究其根本,“潼关肉夹馍”商标自注册以来,并没有对商标进行有效系统的管理,其放任自流的粗放理念为其维权难留下隐患,这很有可能导致此商标成为通用名称而得不到任何法律保护,这种结果长期来看对与美食文化的传承也并非是好事。
另外,即使商标被保留,其性质也应当被认定为集体商标,而非某组织所独占,潼关肉夹馍协会的首要职责是保障产品的质量、保护品牌的声誉、维护文化的传承,其追偿费用前提是其真实的尽到了管理职责,为品牌的维护和发展作出贡献。
商户们是否就完全不能使用“潼关”字样了呢,由于潼关是地名,针对此地名,如果是正当使用,也属于商标专用权人无权禁止的行为。比如此商户确实来源此地区,使用潼关二字仅为了表示其来源地,并将这两个字与主体商标相区分的情况下,可以认定为正当使用。对于在“潼关肉夹馍”注册成功之前已经使用的商标,如果能举证出来其是在先使用,也可以根据使用在先原则,允许其在原有范围内进行使用。
需要餐饮行业经营者注意的是,很多地方特色小吃均已经作为地理标志商标获得注册,如盱眙龙虾、樟树港辣椒、柳州螺蛳粉、靖江蟹黄汤包、桂林米粉、常德米粉、岐山臊子面等传统小吃均已经作为地理标志商标获得注册。餐饮行业经营者如果未经权利人授权就在店招、菜单、包装等上面进行使用,则随时有可能面临侵权之诉。
记者了解到,该案目前老城区人民法院正在审理中,张师傅及其它店主将面临何种判决结果?大河报·豫视频记者将持续关注事件进展。
餐饮点评
小商贩到底能否使用“潼关”字样,目前还尚存争议。但可以肯定的是,潼关肉夹馍协会虽有注册,但并对商标进行有效管理,而如此冒然起诉“潼关”使用者,并意在获得赔偿,难免有敛财嫌疑。
小编认为,即便是不能使用,首先要做的也是加强相关法律法规的宣传,可以责令整改,但非“一刀切”。特别是疫情期间,小微商户经营情况并不乐观,即使被判侵权,大部分商户也是无力赔偿的。