最近一段时间,一些地方的特色美食被抢注商标,然后状告店主的事件,比如潼关肉夹馍,几十个店家都被索赔3-5万元不等,想要使用潼关肉夹馍的名称,每年需要缴纳2400元的会费。

还有逍遥镇胡辣汤,也是遭遇了同样的抢注,店家被状告,需要继续使用要缴纳会费的事件。
在荆州,也有一些地方美食,有视频博主就发文称,荆州的著名美食公安锅盔也被抢注了。
公安锅盔商标被抢注了?
近日,有博主发布内容称:卖公安锅盔的要小心了,公安锅盔正在被人注册商标,并贴出了相关图片为证。

该内容也引发大家的热议,按照该博主提供的图片,更荆州也查询到了相关的内容,网站内容显示商标申请人为北京金话童科技有限公司,申请时间为2019年,状态为正在申请中。

事情似乎真如该博主所言,那么在全国很多地方,都有以公安锅盔为旗号的店铺,是否也要经历逍遥镇胡辣汤、潼关肉夹馍一样的事情了呢?
实际情况:商标申请已经被驳回
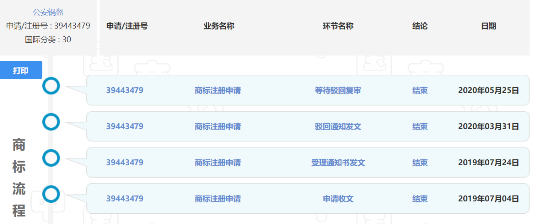
如果稍微仔细思考下,就会发现,2019年申请的商标,到现在还是正在申请中,会不会太慢了?所以更荆州去到了国家知识产权保局商标局的官网进行查询,果然查到了该公司申请公安锅盔商标的信息。

点击进去后发现,虽然该公司有申请公安锅盔的商标,但是在2020年的时候,已经被相关部门驳回。(同样,最后一栏个人申请的公安锅盔商标也被驳回了)

这里,正在使用公安锅盔的名号售卖产品的商家,可以暂时放下心了,因为县以及县以上的地名商标,基本个人和私人公司很难注册成功。但是一些协会就可以,比如沙市豆瓣酱,就被沙市豆瓣酱协会注册成功。

同样,松滋鸡、荆州绿豆皮等商标,也是被相关协会或者组织注册成功了。
这些荆州地名商标都注册失败了

在评论区,有网友表示,我直接注册个荆州锅盔,刚好管公安。别以为这是个笑话,真有人这样干了,是一家叫做深圳市若添科技有限公司的企业,不过,可想而知,荆州锅盔的商标申请被驳回了。

有人还注册了荆楚锅盔,也被驳回了;有私人公司注册荆州鱼糕的商标被播出后,目前荆州有个协会在注册荆州鱼糕的商标,状态显示是驳回复审中,最近在荆州经常看到的荆州味道,实际上注册商标也被驳回了。

看得出,商标管理部门对于带有地理名称商标的申请审核还是蛮严格的,不过有一个带地理名称的商标,却被一家企业注册成功了,那就是荆州关公,注册公司就是关公义园。

更荆州说:带有地名的商标是有社会公共利益和价值的集体商标,如果说成立协会,规范市场,同时可以提供技术支持、对商户进行培训等等,收少量的钱倒可以理解,而这些带有地理标志的商标不应该成为少数人钻空子谋取利益的工具,虽然荆州目前还没有这样的情况出现,但公安锅盔商标被注册的视频能引发大家的讨论,也证明了相关部门也需要留意类似的事件。