天下火锅出四川,相信大家都听过不少四川的品牌火锅店,其中小龙坎火锅也是比较知名的连锁品牌。
树大招风。小龙坎火锅也遭遇过假冒,最终法院判决被告构成商标侵权,赔偿小龙坎关联公司四川仁众投资管理有限公司7万元。我们一起来了解一下。

“小龍坎”商标被侵权
据了解,成都一男子以“兄弟小龙坎”为店招经营一家火锅店,还在店内的玻璃窗广告、迎宾台、火锅盆歪脖、油料罐等位置印有横排或竖排的“小龙坎”字样。
小龙坎关联公司四川仁众投资管理有限公司以商标侵权为由将该男子告上法庭。法院审理认为,该公司依法享有第18096479号“小龍坎”注册商标专用权,被告在经营过程中使用“小龙坎”字样,从读音、字数、含义均与注册商标“小龍坎”一致,消费者很难通过“龙”的繁简体差异进行区分,所以“小龙坎”与“小龍坎”构成近似。
最终,法院判决被告未经许可使用“小龙坎”文字标识,属于侵犯“小龍坎”注册商标专用权的行为,构成侵权。因起诉时该店铺已经停止经营,法院酌情判决被告赔偿损失7万元。
小龙坎900+商标布局
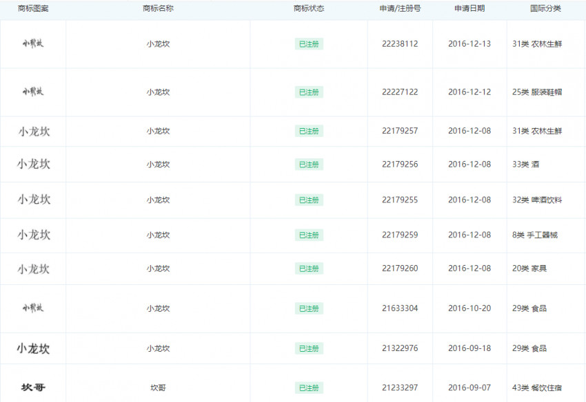
知协查询了解到,小龙坎关联公司四川仁众投资管理有限公司于2014年就可以申请“小龙坎”商标,名下有“小龍坎”“川蜀小龙坎”“蓉城小龙坎”“川渝小龙坎”“巴蜀小龙坎”“巴蜀大龙坎”等多件商标。

为了保护小龙坎品牌,该公司还申请注册了很多“近似商标”,包括“小龙土欠”“不龙坎”“大龙坎”等等,这些容易混淆的字眼,都进行了商标注册,有效预防他人蹭名牌。
此外,小龙坎也有自己的“家族”商标,包括“坎弟”“坎哥”“坎嫂”等等,形成强有力的商标护城河。