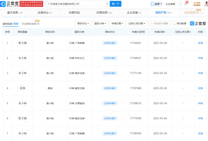
企查查信息显示,袁记云饺在2023年4月先后申请了“袁咖啡”和“云饺咖啡”2个商标,分别属于30类方便食品、35类广告销售、43类餐饮住宿,目前状态均在申请中。5月,袁记云饺又申请了“袁咖”“袁小咖”“袁大咖”3个商标,涉及40类材料加工。

△图片来源:企查查截图
公开资料显示,,袁记云饺第一家门店于2012年开业,主打生鲜外带生意。2017年,袁记云饺开启生熟一体化的门店模式,正式切入堂食水饺生意,就此进入了全国高速拓店模式。
红餐大数据显示,截至目前,袁记云饺门店已超2000家。
版权声明:除非特别标注,否则均为本站原创文章,转载时请以链接形式注明文章出处。
本文转载自:网络整理
相关标签: 咖啡 袁记云饺 水饺