兰州拉面品牌陈香贵发生工商信息变更,新增西式连锁品牌豪客来;一张印有“莲花清瘟咖啡”的一次性咖啡杯照片在社交媒体上引发争议,店老板回应称,纯属误会。详情请看餐饮吧《每日餐讯》。
餐饮吧综合整理消息,今日,有自媒体“东四十条资本”爆出消息,称兰州拉面品牌陈香贵发生工商信息变更,新增西式连锁品牌豪客来。
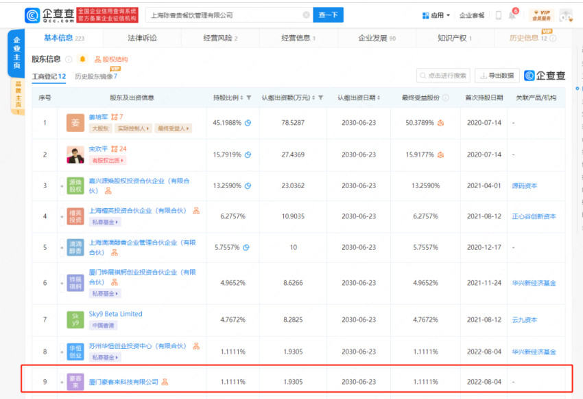
经查询企查查相关信息后,餐饮吧发现厦门豪客来科技有限公司确实于今年8月份出资并获得上海陈香贵餐饮管理有限公司约1.1%的股份。

△图片来源:截图自企查查
据了解,陈香贵于2020年3月开业,短短两年吸引源码资本、正心谷资本、云九资本、华兴资本等入局不说,融资超3亿元,投后估值超过了10亿人民币。2021年7月,陈香贵A轮融资过亿元,正心谷资本领投,老股东源码资本和天使投资人宋欢平加持。
但进入2022年,餐饮融资的热潮逐渐降温,加之疫情影响,陈香贵并没有再获得太多的融资机会。直到最近传出的豪客来投资陈香贵的消息。
做牛排的豪客来为什么会投资陈香贵?可能与两个原因有关。一是陈香贵创始人姜军,有近10年的西餐连锁行业经验。姜军不到20岁就进入餐饮业打拼,最开始干的是西餐。1999年进入德克士,此后8年时间,他在德克士几乎每个部门都做过一遍,从前端运营到后端管理,还有上游供应链。而转型做陈香贵做兰州拉面后,也做得有声有色。
二是因为不少人认为,大环境越差,经济越下行,兰州拉面的品类就越有机会。
有业内人士直言,豪客来此次投资或许是在陈香贵身上看到了新的发展道路。
“莲花清瘟咖啡”惹争议
上游新闻消息,近日,一张印有“莲花清瘟咖啡”的一次性咖啡杯的照片在社交媒体走红。但与过去的走红有些不同的是,“莲花清瘟咖啡”引来的更多是网友的质疑和批判,网友纷纷表示:“真的有这种咖啡吗?”“这种蹭热度营销有点可恶!”
据了解,这杯“莲花清瘟咖啡”来自福建省泉州市的一家咖啡店。被问起“莲花清瘟咖啡”的事时,老板立即回应道:“误会了!这是朋友做了一个贴纸,放在我们店里拍照。图片最早发布在朋友自己的微信朋友圈,不知道怎么就传开了。我昨天辟谣了一个晚上,手机都充了两次电,几乎一个晚上没睡觉,很多网友一直问我有没有‘莲花清瘟咖啡’。”

△图片来源:摄图网
对于拍“莲花清瘟咖啡”的原因,店主解释道:“最近我们这边连花清瘟不好买,朋友就开玩笑说‘买不到,就做一杯咖啡咯’,结果闹了一个乌龙事件,搞得现在人尽皆知了。”
“莲花清瘟咖啡”引发网友热议,部分网友对于这种蹭热度行为也表示了反感,对此店主再三澄清道:“我们是一个开了四、五年的老店了,并不想当网红。我这里是个小众咖啡馆,量也做不起来,就是朋友过来玩一玩就可以了,不想做所谓的网红咖啡馆。”
中国烹协发布《外卖安心餐厅管理规范》
等三项团体标准
中国消费者报消息,12月8日,中国烹饪协会发布《传统河魨烹饪技术规范》《食品接触表面清洁效果评价ATP监测及限值要求》《外卖安心餐厅管理规范》三项团体标准。
《传统河鲀烹饪技术规范》明确规定了传统河鲀烹饪技术的术语和定义、原辅材料及规格、制作工艺、装盘及菜品特色的相关要求,为河魨烹饪操作提供了标准支持,有利于餐饮企业员工不断提升河魨烹饪技法,促进河鲀鱼产业链不断发展壮大。
《食品接触表面清洁效果评价ATP监测及限值要求》涵盖ATP监测方法原理、仪器与耗材、清洁效果检测方法以及清洁效果评价等项内容,并对风险点位的划分、采样频率、采样方法以及结果验证作出明确要求,方便企业对照使用。利用这种检测方法,可以快速知晓餐饮企业的食品清洁水平,并对检测人员的专业技术水平要求较低。

△图片来源:摄图网
《外卖安心餐厅管理规范》规定,外卖安心餐厅是指通过互联网平台提供外卖服务,符合“经营资质安心、人员健康安心、食品原料安心、后厨可视安心、打包配送安心、消费保障安心、食安表现安心”达标规范的餐饮服务提供者。
中国烹饪协会有关负责人表示,《外卖餐品信息描述规范》聚焦安心这个核心概念,覆盖了餐厅从经营资质到售后保障的全链条,旨在提升消费者对餐厅的信任感,进一步规范、引导外卖餐厅更好地进行线上信息展示和日常经营,给消费者带来更好的体验,助力餐饮商家和外卖平台高质量发展。
Tims咖啡加速本土化
改名Tims天好咖啡
央广网消息,12月12日,公众号“Tims咖啡”更改名称为“Tims天好咖啡”。据悉,这是Tims咖啡进入中国以来,首次启用中文名称,Tims咖啡方面表示,引入中文名是为了更好的本土化,深耕中国市场,也利于之后进驻下沉市场,将在晚些时候官宣中文名。

△图片来源:Tims中国官网
Tim Hortons是加拿大国民咖啡品牌,2019年进入中国市场,在上海开出第一家门店。据公开报道,进入中国市场时Tims的团队完全本土化,没有一张外国面孔,同时,为了方便记忆,中国团队还特意起了Tims这个名字。
而近日,Tims中国也公布了上市后的第一份财报,在截至2022年9月30日的三个月里,总收入达到3.06亿元,同比增长67.9%;净亏损为1.95亿元,调整后净亏损为8750万元,净亏损率为28.6%。从门店数量来看,三季度Tims新开门店46家,基本每两天就要开一家新店。截至9月30日,净门店数为486家,其中自营门店454家,加盟店32家。
植物基羊肉公司Black Sheep Foods
完成千万美元A轮融资
植物基网消息,12月8日,植物基公司Black Sheep Foods宣布完成1230万美元的A轮融资。
该轮融资由Unovis领投,包括Bessemer Venture Partners、AgFunder和KBW Ventures。资金将用于建立其产品和研发团队,以及销售和营销。
该公司正在跃过传统的植物基食品,如牛肉、鸡肉和猪肉,专注于扩大其羊肉味产品的生产规模。该公司正在申请专利的技术分离出赋予动物肉类风味的风味分子,在植物中识别出相同的分子,并利用这些分子重建肉类风味,增加口感和丰富性。
另外,该公司植物基羊肉产品已于去年年底在旧金山和洛杉矶的一些餐馆首次亮相,包括在Ettan。目前已经扩展到44家餐厅。
注:本文由餐饮吧综合上游新闻、企查查、植物基网、央广网、中国消费者报等公开信息。如需转载,请标明来源。也希望广大读者在评论区留言,为广大餐饮人提供更多更宝贵的建议。