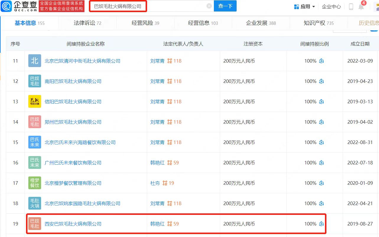
近日,西安市巴奴毛肚火锅店18元一份土豆就5薄片事件引发关注。企查查APP显示,该品牌店关联公司为西安巴奴毛肚火锅有限公司,成立于2019年8月,注册资本200万元,法定代表人为韩艳红,在西安还设立有慈恩西路分公司、熙地港分公司。经营范围均为餐饮服务;日用百货、化妆品、厨房设备、预包装食品、散装食品销售等。
根据该品牌官网显示,目前其母公司巴奴毛肚火锅有限公司已拥有85家直营店、7000多名员工。店面覆盖北京、上海、深圳、武汉、西安等30多个城市,但值得关注的是,西安巴奴公司2021年参保人数仅为7人。


本文转载自企查查财经
相关标签: