老娘舅更新后的招股书显示,预计2022年实现营业收入14亿元至15亿元,同比下降1.66%至8.92%;北京消协公布出现食安问题的餐厅,涉及赛百味、肯德基、杨国福等餐饮企业。详情请看餐饮吧《每日餐讯》。
老娘舅更新招股书
预计2022年净利润下降40% 左右
中国网财经消息,2月28日,老娘舅餐饮股份有限公司(以下简称“老娘舅”)更新了招股书,公司拟在上交所主板上市。
更新后的招股书显示,老娘舅受上海及周边地区疫情影响,2022年上半年净利润仅为75.10万元。公司预计2022年实现营业收入14亿元至15亿元,同比下降1.66%至8.92%。预计实现归母净利润3500万元至4000万元,同比下降36.50%至44.44%。

△图片来源:老娘舅官微
据了解,老娘舅主要产品包括套餐、主菜、汤羹饮品、米面主食、小食配菜等,不同餐品根据烹饪制作的难易程度、时间长度以及食材保鲜度,采取“预备预制”与“现场制作”相结合的制作供应方式。
纵观整个中式快餐市场,近年来,包括老娘舅在内的多家中式快餐品牌均递交或更新招股书,纷纷争抢“中式快餐第一股”以占领市场先机。
在激烈的行业竞争中,老娘舅的营收规模和增速并不甚理想。2021年,老娘舅营收为15.25亿元,较2020年的12.07亿元同比增长26.38%。反观同行业可比公司,乡村基营收由2020年的31.61亿元增长至2021年的46.18亿元,同比增长46.10%。
此外,老娘舅毛利率也低于行业均值。报告期内,老娘舅公司毛利率分别为17.76%、14.58%、16.40%和12.32%,而同行业公司同期毛利率平均值分别为38.15%、21.59%、20.77%和14.70%。
对于毛利率低于行业均值,老娘舅表示,“公司主营中式快餐业务,产品定价较为亲民,因此毛利率低于以中式正餐为主营业务的同庆楼等餐饮企业,同时由于门店端的租金和薪酬等成本较高,毛利率亦低于味知香和千味央厨等预制菜企业。”
值得注意的是,不论是现有门店,还是募投项目计划新建的门店,老娘舅都瞄准长三角区域的市场。深圳市思其晟公司CEO伍岱麒在接受中国网财经记者采访时表示,“老娘舅仍瞄准长三角区域新建门店的做法,应该也是出于企业自身情况考虑,例如菜品及门店风格更适合于长三角地区,以及区域管理人才储备等等。”
老娘舅IPO后续进展如何,餐饮吧将持续关注。
北京消协发布食品安全问题餐饮企业名单
北京商报消息,3月1日,北京市消费者协会(以下简称“北京消协”)公布了近期出现食安问题的餐厅。
据2月16日至2月28日发布的通报统计,存在食品安全问题的连锁餐饮门店包括赛百味、局气、太兴餐厅、肯德基、杨国福麻辣烫、泸溪河桃酥等多家餐饮企业。
此外,北京消协还整理出了今年以来出现食品安全问题的企业名单。根据2023年1月以来发布的通报统计,赛百味共有3家门店存在食安问题,位居榜单第一位,杨国福麻辣烫、张亮麻辣烫、泸溪河桃酥等9家餐饮品牌紧随其后,均有2家餐饮门店存在食安问题。此外,曼玲粥店、宽板凳老灶火锅、外婆家、庆丰包子铺等品牌均各有1家门店存在食安问题。

△图片来源:北京消协公众号
随着餐饮行业的高速发展,食品安全早已成为消费者们关心的问题之一,有不少餐饮企业也都曾因此被推上了风口浪尖。
如今餐饮行业正有望迎来复苏,如此境遇下,所有企业更应该坚守食品安全这道红线。未来只有保证消费者吃得放心,企业才有可能在市场上扎稳、扎深,走得更长远。
涉房屋租赁纠纷,
多家明星餐饮企业起诉成都IFS
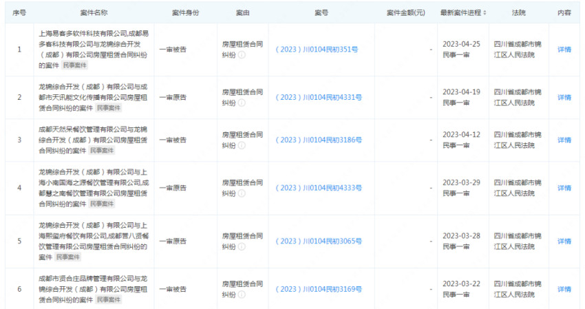
潇湘晨报消息,近日,记者了解到,成都IFS运营主体龙锦综合开发(成都)有限公司新增多项开庭公告信息,原告分别为关晓彤奶茶关联公司成都天然呆餐饮管理有限公司、陈赫贤合庄关联公司成都市贤合庄品牌管理有限公司、黄晓明餐饮品牌关联公司成都烧江南餐饮管理有限公司,以及贤合庄、烧江南的股东四川至膳品牌管理有限公司。案由均为涉及房屋租赁合同纠纷,这些案件将于3月、4月在成都市锦江区人民法院先后开庭。

△图片来源:企查查截图
企查查信息显示,龙锦综合开发(成都)有限公司成立于2007年,注册资本12.1亿美元,经营范围包含普通住宅、酒店、写字楼、商场及停车场的开发建设及经营等。风险信息显示,该企业目前有裁判文书记录381条,案件总金额超1亿元,作为被告的文书占比19.37%,涉案案由多为房屋租赁合同纠纷。
两碗麻辣烫花175元!官方回应
封面新闻消息,近日,有顾客何女士表示,自己遭遇了“麻辣烫刺客”,吃了两碗麻辣烫被要求付175元。
据何女士所说,2月26日晚,其与朋友在四川自贡市华商国际城游玩后,看见路边有一家麻辣烫摊位,考虑到路边摊比店铺更加物美价廉,两人选择坐下来品尝。到了结账的时候,老板称一共消费178元,优惠3元,就收175元。

△图片来源:摄图网
何女士再三向老板确认价格,老板表示价格没错。
何女士的同行朋友李强(化名)表示:“其实价格我个人觉得都还好,问题的关键是这家店铺没有明码标价,什么都要自己去问,并且将所有的食材都煮好后,才给报价格,我们也没有办法核算自己是否吃了178元。”
随后,何女士将自己的遭遇发到了网上,引发网友热议。自贡市市场监管部门也对此事进行了介入调查、处理。
3月2日,自贡市市场监管局发布通报,称经执法人员现场现场检查,赖某(上述麻辣烫老板)对现场销售食品未进行标价涉嫌违法。执法人员已立案调查并责令其暂停经营活动。赖某对自己未明码标价的行为也向消费者进行了致歉,针对何女士消费存在差价40余元的分歧,赖某已主动退还消费者。
36氪消息,近日,小餐饮加盟连锁孵化企业四川墨比品牌优创科技有限公司(以下简称「墨比优创」)已完成亿元级别A轮融资,由天味食品领投,梅花创投、嘉兴品创参投。
据悉,「墨比优创」2019年创立于成都,致力于孵化小餐饮连锁加盟品牌。目前,拥有马路边边串串香、老街称盘麻辣烫、嘟爷火锅杯等主力品牌。
「墨比优创」创始人何流表示,本轮融资后,公司将发力三个方向:第一,借助投资方的优势,优化供应链体系,提高产品品质;第二,以“十城千店”升级原有加盟模式,在以北上深为代表的十个重点城市寻找本地合作伙伴,打造区域性的分中心;第三,坚持多品牌战略,通过品类扩充尽可能满足不同消费者的餐饮需求。
注:本文由餐饮吧综合北京商报、法制日报、新京报、封面新闻、36氪等公开信息。如需转载,请标明来源。也希望广大读者在评论区留言,为广大餐饮人提供更多更宝贵的建议。